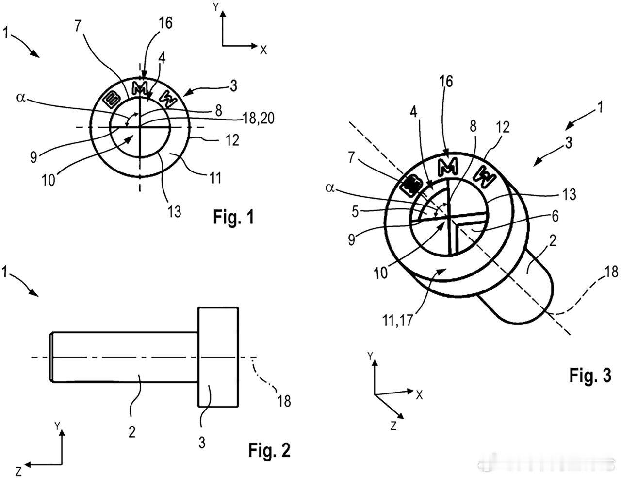
宝马提交了一系列有关螺丝的专利图纸,尝试将螺丝头弄成带品牌Logo的造型,不过很

叹车说汽车 2025-12-24 11:35:06

宝马提交了一系列有关螺丝的专利图纸,尝试将螺丝头弄成带品牌Logo的造型,不过很显然这种设计会给维修带来极大的不便,毕竟需要定制螺丝刀才能扭开~PS:图2是该款螺丝的假想图🧾 Carscoops宝马TC车闻

0 阅读:0
叹车说汽车

叹车说汽车

感谢大家的关注